连接器产业最新动态与技术

2025-10-31
AI与新能源引爆增长
美国100%关税加速国产替代
Industry News

近期,连接器产业站上了前所未有的风口。一方面,AI服务器与新能源汽车的爆发式增长,为产业注入强劲动力;另一方面,美国突然宣布对中国征收100%的关税,投下了一颗“重磅炸弹”。技术需求与市场变局相互交织,正在深刻改变行业的竞争生态与发展路径。

PART 01
技术创新与专利

Technological Innovation and Patents




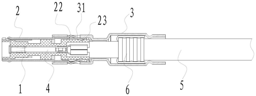
瑞可达:新一代车载连接器端子

公告号:CN115911928A

技术亮点:其专利端子采用创新的结构互锁设计,在确保极高接触可靠性和抗振动性能的同时,大幅简化了装配流程。该一体化设计减少了零件数量,实现了在提升产品质量的同时降低制造成本的目标。

CN202310112706.6.png

战略意义:强化了瑞可达在成本敏感且可靠性要求严苛的汽车市场的竞争力,为车企提供了更高性价比的连接解决方案,助力整车线束的轻量化和高效生产。



中航光电:高可靠性防松脱连接器

公告号:CN114256673A

技术亮点:该专利连接器核心在于其防螺钉脱出结构,通过内部卡扣或限位装置,从根本上解决了在频繁插拔或强烈震动下紧固螺钉容易松动甚至丢失的行业难题,极大提升了设备维护的便利性和整体连接的长期稳定性。

CN202011002818.9.png

战略意义:体现了中航光电在航空航天、军工及工业设备等高端领域对“零缺陷”可靠性的极致追求,巩固了其在关键基础设施连接解决方案中的领先地位。



阿维塔科技:高度集成车辆线束连接器

公告号:CN223414372U

技术亮点:将车载以太网、同轴信号线与传统低压线束集成于单一连接器接口,实现了数据、视频与电源的同步传输。这种一体化设计显著减少了连接器数量和装配步骤。

CN202422485945.9.png

战略意义:阿维塔通过核心部件集成化,直接支持了下一代汽车电子电气架构的演进,简化了整车线束布局,提升了生产效率和车辆系统的集成度。






PART 02
市场变局:美国100%关税 影响几何?

The Impact of America's 100% Tariff


R-C.png
01

直接影响:美国来源连接器成本急剧攀升

100%的关税,意味着直接从美国进口相关连接器的成本将急剧增加。首当其冲的是那些严重依赖美国高端连接器、且短期内难以替代的领域:


受影响领域:

  • 高端军工/航空航天:部分特殊规格、高可靠性的连接器,美国连接器厂商如TE ConnectivityAmphenol具有技术壁垒。


  • 顶级科研设备:用于尖端实验仪器、测量设备的高性能连接器,对性能要求极为严苛。


  • 部分高端工业领域:如特定品牌的圆形连接器、光纤连接器等。


市场反应 直接进口这些产品的中国客户将面临“价格翻倍”的困境,利润空间被严重挤压,项目成本将大幅上升。


02
供应链的“链式反应”与国产替代机遇

短期阵痛不可避免,但长期看,这将极大地加速连接器产业的 “国产替代”进程。

img_95.jpg

国产厂商的黄金窗口:国内领先的连接器企业,如中航光电、立讯精密、意华股份等,正迎来前所未有的市场机遇。它们可以凭借成本优势、快速的服务响应和日益提升的技术实力,抢占原本由美国品牌占据的中高端市场。

供应链多元化:进口商将被迫寻找替代来源。除了中国大陆本土厂商,日本、台湾地区、欧洲的连接器制造商也可能从中受益,获得更多询盘和订单。

国内技术攻坚的催化剂:此举将倒逼国内企业在材料科学、精密加工、仿真设计等“卡脖子”环节加大研发投入,攻克技术难关,实现自主可控。


03

对于大众消费电子产品,由于供应链早已高度全球化且大部分产能位于中国境内,直接影响非常有限。但在一些高端、小众的DIY电脑配件、专业影音设备领域,使用美国品牌连接器的产品价格可能会有所上涨。





PART 03
其他近期行业动态

Other recent industry developments




连接器巨头进军“低空经济”新蓝海



作为航空航天连接器的传统强者,TE Connectivity(泰科电子)已将其在商用航空领域积累的尖端技术平移到eVTOL领域。近期,TE积极参与全球主要eVTOL制造商的研发项目,为其提供满足严苛适航标准的高压电源、高速数据及射频连接解决方案。其产品在抗振动、阻燃及轻量化方面的优势,正成为赢得这一新兴市场订单的关键。

智能制造与数字工厂驱动连接需求



莫仕公司针对高动态、高循环次数的工业机器人应用,推出了系列柔性线缆及板对板连接器解决方案。其产品在抗弯折、防溅水和信号完整性方面的卓越表现,满足了协作机器人、SCARA机器人等对内部连接空间和可靠性的极致要求。

从零件到方案  价值链向上攀升



立讯精密在收购相关企业后,正从消费电子连接器向汽车线束和连接系统全面进军。其近期动态显示,公司不仅提供连接器,更致力于打造涵盖整车线束、电源管理系统及高速数据传输通道的完整“连接生态系统”,旨在成为智能电动汽车的“神经与血管”总成供应商。

CONNECTING TO THE FUTURE


END


千金快线

千金快线是主营进口连接器正品现货的平台,上万平米的智能仓库,4万多款现货即时供应,为用户提供前期打样、小批量试产、大规模生产等一站式解决方案,彻底解决用户型号多、数量少、交期长的采购烦恼。关注公众号,体验快速高效的现货服务,让你所需即所得!

公众号




标签

本文网址:/news/1357.html